阿里云服务器快照隐藏的比较深,快照对于网站来说也是很重要的,每个人都要养成定期做快照的习惯,有个朋友线上的阿里云服务器网站数据被一条delete的sql语句不小心干掉了20万多条数据,顿时那个紧张那个鸡冻,工程师都要奔溃了,各种找解决方法,后来项目经理想到阿里云做了快照,最后用快照方法赶紧恢复数据,这个就是典型案例。下面我们来看看如何创建阿里云快照:

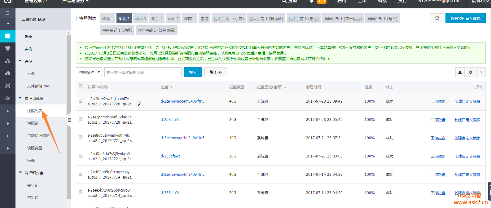
进入你的阿里云服务器里,然后左侧有快照列表,没有就新建,最好是创建自动快照,官网都是深夜自动做快照,降低服务器压力,

如果因为不小心干掉数据可以点击回滚磁盘,是不是很简单。